Product Summary
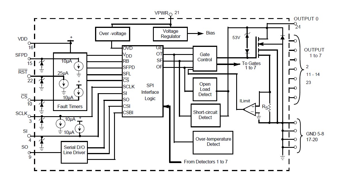
The MC33298DW is a smart eight output low side power switch. It is a versatile device incorporating an 8-bit serial-in shift register to control an 8-bit parallel output latch providing control of eight independent ON/OFF output switches. Applications of the MC33298DW include the control of solenoids, relays, lamps, small DC motors, and other moderate current loads (1.0 – 3.0A). The MC33298DW interfaces directly with a microcontroller to control various inductive or incandescent loads. Input control is fast. Data rates are guaranteed to 2.0 MHz but the device is capable of rates to 8.5 MHz @ 25℃.
Parametrics
MC33298DW maximum ratings: (1)Power Supply Voltage Normal Operation (Steady-state) VPWR(SS): - 1.5 to 26.5V; (2)Transient Conditions VPWR(PK): - 13 to 60V; (3)Logic Supply Voltage VDD: - 0.3 to 7.0V; (4)Input pin Voltage VIN: -0.3 to 7.0V; (5)Output Clamp Voltage 2.0mA ≤ IOUT ≤ 0.5A VOUT(OFF): 50 to 75 V; (6)Output Self-Limit Current IOUT(LIM): 3.0 to 6.0A; (7)Continuous Per Output Current(5) IOUT(CONT): 1.0A; (8)Recommended Frequency of SPI Operation fSPI: 2.0MHz; (9)Storage Temperature TSTG: - 55 to 150℃.
Features
MC33298DW features: (1)Designed to operate over wide supply voltages of 5.5 to 26.5V; (2)Interfaces to microprocessor using 8-bit SPI I/O protocol up to 3.0MHz; (3)1.0A peak current outputs with maximum RDS(ON) of 1.8Ω at TJ - 150℃; (4)Outputs current limited to accommodate in-rush currents associated with switching incandescent loads; (5)Output voltages clamped to 65V during inductive switching; (6)Maximum sleep current (IPWR) of 25μA; (7)Maximum of 4.0mA IDD during operation; (8)Pb-free packaging designated by suffix code EG.
Diagrams

| Image | Part No | Mfg | Description | ![]() |
Pricing (USD) |
Quantity | ||||||||||
|---|---|---|---|---|---|---|---|---|---|---|---|---|---|---|---|---|
![]() |
![]() MC33298DW |
![]() |
![]() IC SWITCH SERIAL OCTAL 24-SOIC |
![]() Data Sheet |
![]()
|
|
||||||||||
![]() |
![]() MC33298DWR2 |
![]() |
![]() IC OCTAL SERIAL SWITCH 24-SOIC |
![]() Data Sheet |
![]() Negotiable |
|
||||||||||
(China (Mainland))









